首页 资讯 财经 汽车 关注 科技 房产 图片 全国 视频

数码

旗下栏目: 业内 数据 数码 手机

苹果新专利指向无线充电 将来或将推搭载Siri的无线充电底座

来源:新闻门户     作者:华夏门户     浏览:次     发布时间:2020-08-26
摘要:苹果新专利指向无线充电 将来或将推搭载Siri的无线充电底座-有传言称,苹果大概会在本年晚些时候宣布豪华版iPho……

  有传言称,苹果大概会在本年晚些时候宣布豪华版iPhone 8时为iPhone带来无线充电成果,因此我们大概会在iPhone包装盒里看到一些新配件。

  思量到苹果是无线充电同盟(Wireless Power ConsorTIum)的成员,它大概会通过Qi感到尺度来实现这一成果。这意味着苹果需要设计一款雷同于垫片的新设备来给iPhone充电,可是我们还不清楚这款设备会是什么样的。

  会不会是一款支持Siri助手的无线充电底座,就像老式的iHome时钟收银机那样?假如从苹果最近方才得到的一项专利技能来看,它很大概会在将来的某个时候推出一款这样的产物。

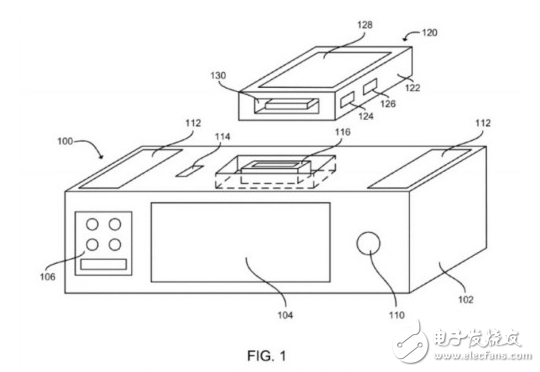
  苹果得到的这项新专利描写了一种可以作为“便携式电子设备底座”利用的新设备,它大概会配备麦克风、处理惩罚器和无线能量传输成果。

  这项专利还提到了Siri的集成,只是专利文件称之为“便携式电子设备的语音识别模式”,而不是底座的内置成果。

  

苹果新专利指向无线充电 将来或将推搭载Siri的无线充电底座

  这项专利的申请文件是在2012年提交的,当时候智能音箱和物联网设备还没有呈现。因此,鉴于如今的潮水趋势,苹果很大概会将Siri直接集成到底座中。

  与苹果即将发售的HomePod对比,一款支持Siri助手、具备无线充电成果的智能底座对消费者的吸引力大概更大。

  苹果在本年的WWDC大会上宣布了内置Siri的智能音箱HomePod,售价349美元,尽量苹果但愿操作这款产物与亚马逊Echo和谷歌(微博)Google Home竞争,可是它的价值差不多是Echo的两倍,今朝还未发售,因此还不清楚它的竞争力如何。

  苹果首席执行官库克认为,HomePod的优质音色足以吸引果粉为这款设备耗费更多的钱,可是要想在智能音箱的竞争中得胜,产物的实用性好像越发重要。因此,我小我私家还长短常但愿看到“支持Siri助手的无线充电底座”这样一种设计从观念酿成现实。

  此刻,此刻我们无法知道会不会产生这样的工作。这只是一项专利,所以苹果大概并没有在开拓这种设计,又可能iPhone 8是否会支持无线充电成果,从理论上来说我们甚至也不能必定必然会有iPhone 8这款产物(这个可以有!)。这只是一个但愿。(

技能专区

谷歌宣布3款摄像应用 AI与摄影不分居

苹果Apple Watch 11月创新高,2018年总体出货量有望到达2500万

Pixel C平板进级Android 8.1后,数据自动擦除

谷歌发明iOS 11,iOS 11越狱信息或将果真

Windows再现高危裂痕,裂痕并未被果真,微软紧张修复

责任编辑:华夏门户
首页 | 资讯 | 关注 | 科技 | 财经 | 汽车 | 房产 | 图片 | 视频 | 全国

Copyright © www.msgkpx.com 北京新闻网 版权所有 粤icp备10021497号-9

电脑版 | 移动版