|
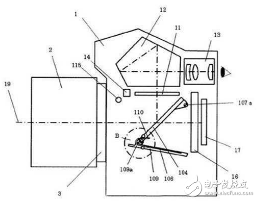
取景器可以分为光学取景器和电子取景器。光学取景器,顾名思义就是通过光学的组件来完成取景的事情。按照事情道理的差异,又分为旁轴式和单镜头反光同轴式两种。 单镜头反光式的布局就很巨大,因此制造本钱也较量高,一般都是用于高端产物上,也就是凡是所说的数码单反(DSLR)。单镜头反光式取景器是直接通过镜头取景,光泽从镜头射入,通过一面反光镜,折射到上方的对焦屏成像,再折射到目镜中,这样拍摄者就能从观景框中看到所要拍摄的图像了,由于是直接通过镜头取景,办理了图像毛病的问题,真正做到“即见即所得”的结果。 7D3搭载佳能发布了两个全新的专利,个中一个是电子光学殽杂取景器,道理是EVF和反光镜一同上移,让殽杂的方法布局越发简朴化。别的一项专利是单反相机的背光按钮设计,这在许多产物上都已经有成熟案例,倒是在单反相机上确实没有见到过,是一个较量有用又简朴的设计。
佳能 7D Mark II(7D2) 佳能单反相机系统十分成熟,使得佳能不肯意放弃光学取景的反光镜布局。这次电子光学殽杂取景器的设计也是进一步改善单反的布局,使得上世纪至今的传统单反布局也可以玩出新的格式。这个专利大概会率先呈此刻佳能7D Mark III上。 技能专区 谷歌宣布3款摄像应用 AI与摄影不分居 苹果Apple Watch 11月创新高,2018年总体出货量有望到达2500万 Pixel C平板进级Android 8.1后,数据自动擦除 谷歌发明iOS 11,iOS 11越狱信息或将果真 Windows再现高危裂痕,裂痕并未被果真,微软紧张修复 |















